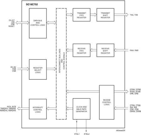
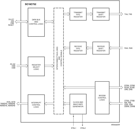
The SC16C752 is a dual universal asynchronous receiver/transmitter (UART) with 64-byte FIFOs, automatic hardware/software flow control, and data rates up to 5 Mbits/s (3.3 V and 5 V). The SC16C752 offers enhanced features. It has a transmission control register (TCR) that stores receiver FIFO threshold levels to start/stop transmission during hardware and software flow control. With the FIFO RDY register, the software gets the status of TXRDY/RXRDY for all four ports in one access. On-chip status registers provide the user with error indications, operational status, and modem interface control. System interrupts may be tailored to meet user requirements. An internal loop-back capability allows on-board diagnostics.
The UART transmits data, sent to it over the peripheral 8-bit bus, on the TX signal and receives characters on the RX signal. Characters can be programmed to be 5, 6, 7, or 8 bits. The UART has a 64-byte receive FIFO and transmit FIFO and can be programmed to interrupt at different trigger levels. The UART generates its own desired baud rate based upon a programmable divisor and its input clock. It can transmit even, odd, or no parity and 1, 1.5, or 2 stop bits. The receiver can detect break, idle, or framing errors, FIFO overflow, and parity errors. The transmitter can detect FIFO underflow. The UART also contains a software interface for modem control operations, and has software flow control and hardware flow control capabilities.
The SC16C752 is available in a plastic LQFP48 package.