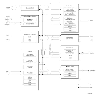
The Philips Semiconductors SCC68681 Dual Universal Asynchronous Receiver/Transmitter (DUART) is a single-chip MOS-LSI communications device that provides two independent full-duplex asynchronous receiver/transmitter channels in a single package. It is compatible with other S68000 family devices, and can also interface easily with other microprocessors. The DUART can be used in polled or interrupt driven systems. It is manufactured in a CMOS process.
The operating mode and data format of each channel can be programmed independently. Additionally, each receiver and transmitter can select its operating speed as one of eighteen fixed baud rates, a 16× clock derived from a programmable counter/timer, or an external 1× or 16× clock. The baud rate generator and counter/timer can operate directly from a crystal or from external clock inputs. The ability to independently program the operating speed of the receiver and transmitter make the DUART particularly attractive for dual-speed channel applications such as clustered terminal systems.
Each receiver is quadruply buffered to minimize the potential of receiver overrun or to reduce interrupt overhead in interrupt driven systems. In addition, a flow control capability is provided to disable a remote DUART transmitter when the buffer of the receiving device is full.
Also provided on the SCC68681 are a multipurpose 6-bit input port and a multipurpose 8-bit output port. These can be used as general purpose I/O ports or can be assigned specific functions (such as clock inputs or status/interrupt outputs) under program control.