アプリケーション・ノート (1)
-
AN10216[AN10216]
お客様の素早い設計とより早い製品化を実現する、技術情報と専門知識をご紹介します。
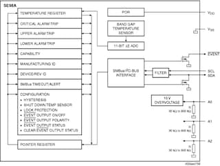
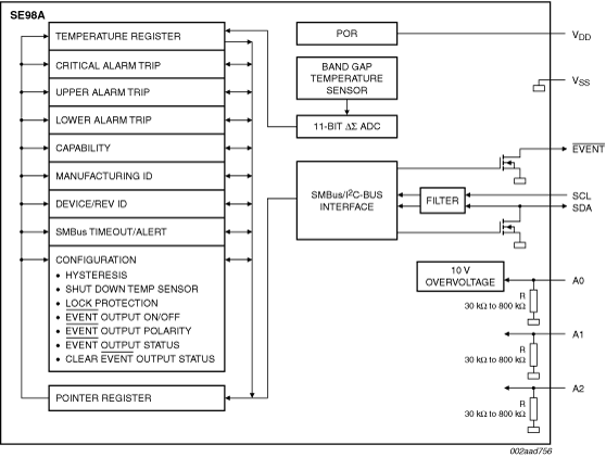
The NXP Semiconductors SE98A measures temperature from -40 ºC and +125 ºC with JEDEC Grade B ±1 ºC accuracy between +75 ºC and +95 ºC communicating via the I2C-bus/SMBus. It is typically mounted on a Dual In-Line Memory Module (DIMM) measuring the DRAM temperature in accordance with the new JEDEC (JC-42.4) Mobile Platform Memory Module Thermal Sensor Componentspecification.
The SE98A thermal sensor operates over the VDD range of 1.7 V to 3.6 V. The SE98A does not include the 2 k SPD and is designed for custom DIMM where larger SPD is required.
The Temp Sensor (TS) consists of an Analog-to-Digital Converter (ADC) that monitors and updates its own temperature readings 8 times per second, converts the reading to a digital data, and latches them into the data temperature registers. User-programmable registers, such as Shutdown or Low-power modes and the specification of temperature event and critical output boundaries, provide flexibility for DIMM temperature-sensing applications.
When the temperature changes beyond the specified boundary limits, the SE98A outputs an EVENT signal using an open-drain output that can be pulled up between 0.9 V and 3.6 V. The user has the option of setting the EVENT output signal polarity as either an active LOW or active HIGH comparator output for thermostat operation, or as a temperature event interrupt output for microprocessor-based systems. The EVENT output can even be configured as a critical temperature output.
The SE98A supports the industry-standard 2-wire I²C-bus/SMBus serial interface. The SMBus TIMEOUT function is supported to prevent system lock-ups. Manufacturer and Device ID registers provide the ability to confirm the identify of the device. Three address pins allow up to eight devices to be controlled on a single bus.
The SE98A is an improved SE98 and is comparable to the thermal sensor in the SE97 but with voltage range of 1.7 V to 3.6 V.
|
|
|
|
|
|
|
|---|---|---|---|---|---|
|
|
|
|
|
|
|
|
|
|
|
|
|
|
|
|
|
|
|
|
|
|
|
|
|
|
|
|
|
|
|
|
|
|
|
|
|
|
|
|
|
|
|
|
|
|
|
|
|
|
|
|
|
|
|
|
|
|
|
|
|
|
|
|
|
|
|
|
|
|
クイック・リファレンス ドキュメンテーションの種類
4 ドキュメント
コンパクトリスト
セキュアファイルの読み込み中、しばらくお待ちください。