アプリケーション・ノート (1)
-
ESD and EMC sensitivity of IC[AN10853]
お客様の素早い設計とより早い製品化を実現する、技術情報と専門知識をご紹介します。
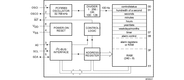
The PCF8583 is a clock and calendar chip, based on a 2048 bit static CMOS1 RAM organized as 256 words by 8 bits. Addresses and data are transferred serially via the two-line bidirectional I²C-bus. The built-in word address register is incremented automatically after each written or read data byte. Address pin A0 is used for programming the hardware address, allowing the connection of two devices to the bus without additional hardware.
The built-in 32.768 kHz oscillator circuit and the first 8 bytes of the RAM are used for the clock, calendar, and counter functions. The next 8 bytes can be programmed as alarm registers or used as free RAM space. The remaining 240 bytes are free RAM locations.
|
|
|
|
|
|
|
|---|---|---|---|---|---|
|
|
|
|
|
|
|
|
|
|
|
|
|
|
|
|
|
|
|
|
|
|
|
|
|
|
|
|
|
|
|
|
|
|
|
|
|
|
|
|
|
|
|
|
|
|
|
|
|
|
|
|
|
|
|
|
|
|
|
|
|
|
|
|
|
|
|
|
|
|
クイック・リファレンス ドキュメンテーションの種類
7 ドキュメント
コンパクトリスト
セキュアファイルの読み込み中、しばらくお待ちください。