ユーザ・ガイド (1)
-
56F803 Evaluation Module Hardware User's Manual[DSP56F803EVMUM]はじめに
お客様の素早い設計とより早い製品化を実現する、技術情報と専門知識をご紹介します。
ARCHIVED
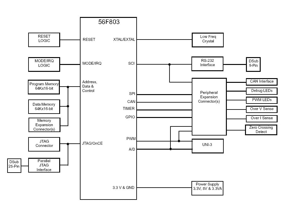
The 56F803EVM kit is a low-cost kit that contains everything you need to quickly evaluate the features and capabilities of the 56F803 Digital Signal Controller and tools. It also provides an efficient, cost-effective vehicle for hardware and software development. It can be used alone or in conjunction with Our broad range of modular motion control development hardware. The DSP56F803EVM Kit is targeted for use on PC-compatible systems running Windows 95, Windows 98, Windows 2000, Windows ME and Windows NT 4.0.
Archived content is no longer updated and is made available for historical reference only.
クイック・リファレンス ドキュメンテーションの種類
1 ドキュメント
コンパクトリスト
セキュアファイルの読み込み中、しばらくお待ちください。
1-5件/全 6 設計・ファイル
セキュアファイルの読み込み中、しばらくお待ちください。
クイック・リファレンス ソフトウェア・タイプ.