サポート情報 (1)
-
Footprint for wave soldering[PLCC-WAVE]
データ・シート (1)
パッケージ情報 (1)
-
plastic leaded chip carrier; 44 leads[SOT187-2]
ユーザ・ガイド (1)
-
UM10113[UM10113]
お客様の素早い設計とより早い製品化を実現する、技術情報と専門知識をご紹介します。
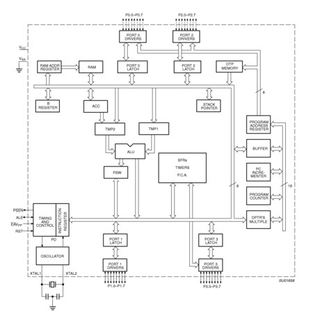
The devices are Single-Chip 8-Bit Microcontrollers manufactured in an advanced CMOS process and are derivatives of the 80C51 microcontroller family. The instruction set is 100% compatible with the 80C51 instruction set.
The devices support 6-clock/12-clock mode selection by programming an OTP bit (OX2) using parallel programming. In addition, an SFR bit (X2) in the clock control register (CKCON) also selects between 6-clock/12-clock mode.
The devices also have four 8-bit I/O ports, three 16-bit timer/event counters, a multi-source, four-priority-level, nested interrupt structure, an enhanced UART and on-chip oscillator and timing circuits.
The added features of the P87C51RA2/RB2/RC2/RD2 make it a powerful microcontroller for applications that require pulse width modulation, high-speed I/O and up/down counting capabilities such as motor control.
|
|
|
|
|
|
|
|---|---|---|---|---|---|
|
|
|
|
|
|
|
|
|
|
|
|
|
|
|
|
|
|
|
|
|
|
|
|
|
|
|
|
|
|
|
|
|
|
|
|
|
|
|
|
|
|
|
|
|
|
|
|
|
|
|
|
|
|
|
|
|
|
|
|
|
|
|
|
|
|
|
|
|
|
クイック・リファレンス ドキュメンテーションの種類
4 ドキュメント
コンパクトリスト
セキュアファイルの読み込み中、しばらくお待ちください。