サポート情報 (1)
-
Footprint for wave soldering[PLCC-WAVE]
データ・シート (1)
-
8-bit microcontroller[P83C562_P80]
パッケージ情報 (1)
-
plastic leaded chip carrier; 68 leads[SOT188-2]
お客様の素早い設計とより早い製品化を実現する、技術情報と専門知識をご紹介します。
See also the overview of 8XC552/562 80C51 family derivatives
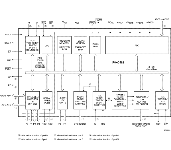
The P80C562/P83C562 (hereafter generally referred to as P8xC562) single-chip 8-bit microcontroller is manufactured in an advanced CMOS process and is a derivative of the 80C51 microcontroller family. The P8xC562 has the same instruction set as the 80C51. Two versions of the derivative exist:
This I/O intensive device provides architectural enhancements to function as a controller in the field of automotive electronics, specifically engine management and gear box control.
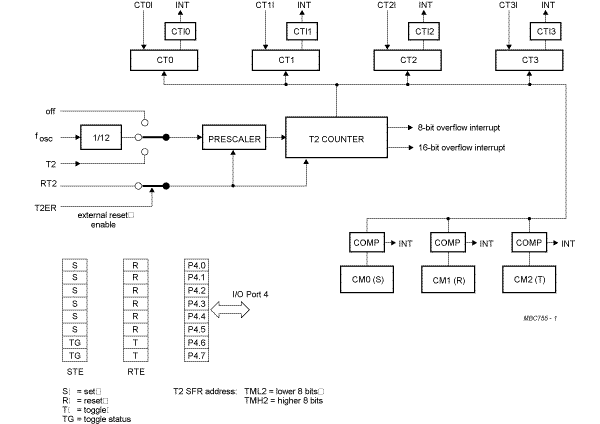
The P8xC562 contains a non-volatile 8 kbyte read only program memory, a volatile 256 byte read/write data memory, six 8-bit I/O ports, two 16-bit timer/event counters (identical to the timers of the 80C51), an additional 16-bit timer coupled to capture and compare latches, a fourteen-source, two-priority-level, nested interrupt structure, an 8-input ADC, a dual DAC with pulse width modulated outputs, a serial interface (UART), a Watchdog Timer and on-chip oscillator and timing circuits. For systems that require extra capability, the P8xC562 can be expanded using standard TTL compatible memories and logic.
The device also functions as an arithmetic processor having facilities for both binary and BCD arithmetic plus bit-handling capabilities. The instruction set consists of over 100 instructions: 49 one-byte, 45 two-byte and 17 three-byte. With a 16 MHz crystal, 58% of the instructions are executed in 0.75 ms and 40% in 1.5 ms. Multiply and divide instructions require 3 ms.

|
|
|
|
|
|
|
|---|---|---|---|---|---|
|
|
|
|
|
|
|
|
|
|
|
|
|
|
|
|
|
|
|
|
|
|
|
|
|
|
|
|
|
|
|
|
|
|
|
|
|
|
|
|
|
|
|
|
|
|
|
|
|
|
|
|
|
|
|
|
|
|
|
|
|
|
|
|
|
|
|
|
|
|
クイック・リファレンス ドキュメンテーションの種類
3 ドキュメント
コンパクトリスト
セキュアファイルの読み込み中、しばらくお待ちください。