アプリケーション・ノート (1)
サポート情報 (1)
-
Footprint for wave soldering[QFP-SQFP-TQFP-WAVE]
データ・シート (1)
-
8-bit microcontroller with on-chip CAN[P8XCE598]
お客様の素早い設計とより早い製品化を実現する、技術情報と専門知識をご紹介します。
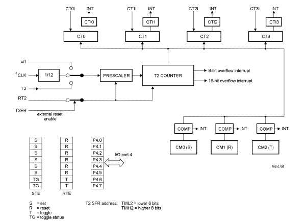
The P8xCE598 is a single-chip 8-bit high-performance microcontroller with on-chip CAN-controller, derived from the 80C51 microcontroller family. It uses the powerful 80C51 instruction set. <!--Figure 1 shows a block diagram of the P8xCE598.--> The P8xCE598 is manufactured in an advanced CMOS process, and is designed for use in automotive and general industrial applications. In addition to the 80C51 standard features, the device provides a number of dedicated hardware functions for these applications.
Two versions of the P8xCE598 will be offered:
Hereafter these versions will be referred to as P8xCE598.
The temperature range includes (max. fCLK= 16 MHz):
The P8xCE598 combines the functions of P8XC552 (microcontroller) and the PCA82C200 (Philips CAN-controller) with the following enhanced features:
Electromagnetic Compatibility (EMC)
Primary attention is paid to the reduction of electromagnetic emission of the microcontroller P8xCE598. The following features reduce the electromagnetic emission and additionally improve the electromagnetic susceptibility:
Four digital part supply voltage pins (VDD1 to VDD4 ) and four digital part ground pins (VSS1 to VSS4 ) are provided on the package. These pins, one VDD and one VSS as a pair of pins are placed on each of the four sides of the package to provide:
- VDD1 /VSS1 for internal logic (CPU, Timers/counters, Memory, CAN, UART, ADC)
- VDD2 /VSS2 for Port 1, Port 3 and Port 4, and PWM0 and PWM1 outputs
- VDD3 /VSS3 for the on-chip oscillator
- VDD4 /VSS4 for the Port 0, Port 2, ALE output and PSEN output.
Recommendation on ALE
For application that require no external memory or temporarily no external memory: the ALE output signal (pulses at a frequency of 1 ?6 fOSC) can be disabled under software control (bit 5 in PCON SFR: ?RFI?); if disabled, no ALE pulse will occur. ALE pin will be pulled down internally, switching an external address latch to a quiet state. The MOVX instruction will still toggle ALE as a normal MOVX.
ALE will retain its normal HIGH value during Idle mode and a LOW value during Power-down mode while in the ?RFI reduction mode?.
Additionally during internal access (EA = 1) ALE will toggle normally when the address exceeds the internal Program Memory size. During external access (EA = 0) ALE will always toggle normally, whether the flag ?RFI? is set or not.

図を選択する。:

注: 製品の特徴を見るには、このウィンドウを閉じます。.
|
|
|
|
|
|
|
|---|---|---|---|---|---|
|
|
|
|
|
|
|
|
|
|
|
|
|
|
|
|
|
|
|
|
|
|
|
|
|
|
|
|
|
|
|
|
|
|
|
|
|
|
|
|
|
|
|
|
|
|
|
|
|
|
|
|
|
|
|
|
|
|
|
|
|
|
|
|
|
|
|
|
|
|
クイック・リファレンス ドキュメンテーションの種類
4 ドキュメント
コンパクトリスト
セキュアファイルの読み込み中、しばらくお待ちください。