サポート情報 (1)
-
Reflow Soldering Profile[REFLOW_SOLDERING_PROFILE]
お客様の素早い設計とより早い製品化を実現する、技術情報と専門知識をご紹介します。
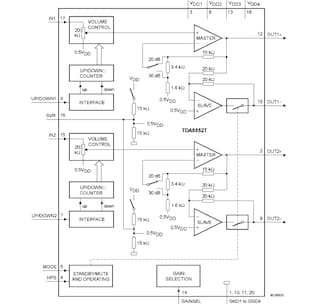
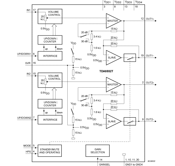
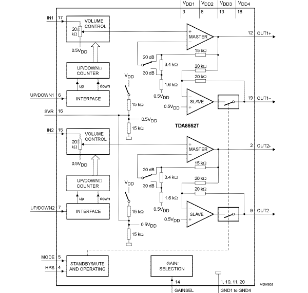
The TDA8552T is a two channel audio power amplifier that provides an output power of 2 x 1.4 W into an 8 Ω load using a 5 V power supply. The circuit contains two BTL power amplifiers, two digital volume controls and standby/mute logic. Volume and balance of the amplifiers are controlled using two digital input pins which can be driven by simple push-buttons or by a microcontroller. Using the selection pin (GAINSEL) the maximum gain can be set at 20 or 30 dB. The headphone sense input (HPS) can be used to detect if a headphone is plugged into the jack connector. If a headphone is plugged into the jack connector the amplifier switches from the BTL to the SE mode and the BTL loudspeakers are switched off. This also results in a reduction of quiescent current consumption.
The TDA8552T is contained in a 20-pin small outline package. For the TDA8552TS, which is contained in a 20-pin very small outline package, the maximum output power is limited by the maximum allowed ambient temperature. More information can be found in Section "Thermal design considerations". The SO20 package has the four corner leads connected to the die pad so that the thermal behaviour can be improved by the PCB layout.
|
|
|
|
|
|
|
|---|---|---|---|---|---|
|
|
|
|
|
|
|
|
|
|
|
|
|
|
|
|
|
|
|
|
|
|
|
|
|
|
|
|
|
|
|
|
|
|
|
|
|
|
|
|
|
|
|
|
|
|
|
|
|
|
|
|
|
|
|
|
|
|
|
|
|
|
|
|
|
|
|
|
|
|
クイック・リファレンス ドキュメンテーションの種類
5 ドキュメント
コンパクトリスト
セキュアファイルの読み込み中、しばらくお待ちください。