データ・シート (1)
-
2 × 0.7 W BTL audio amplifier[TDA8542TS]
お客様の素早い設計とより早い製品化を実現する、技術情報と専門知識をご紹介します。
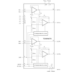
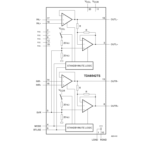
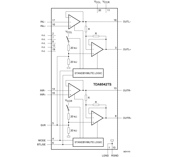
The TDA8542TS is a two channel audio power amplifier for an output power of 2 x 0.7 W with a 16 Ω load at a 5 V supply. At a low supply voltage of 3.3 V an output power of 0.6 W with an 8 Ω load can be obtained. The circuit contains two Bridge-Tied Load (BTL) amplifiers with a complementary PNP-NPN output stage and standby/mute logic. The TDA8542TS is available in a SSOP20 package.
|
|
|
|
|
|
|
|---|---|---|---|---|---|
|
|
|
|
|
|
|
|
|
|
|
|
|
|
|
|
|
|
|
|
|
|
|
|
|
|
|
|
|
|
|
|
|
|
|
|
|
|
|
|
|
|
|
|
|
|
|
|
|
|
|
|
|
|
|
|
|
|
|
|
|
|
|
|
|
|
|
|
|
|
クイック・リファレンス ドキュメンテーションの種類
3 ドキュメント
コンパクトリスト
セキュアファイルの読み込み中、しばらくお待ちください。