デザイン・ファイル
完全な内訳を受け取ります。 製品の設置面積などについては、 eCad ファイル.
お客様の素早い設計とより早い製品化を実現する、技術情報と専門知識をご紹介します。
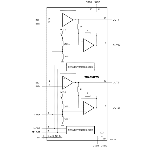
The TDA8547TS is a two channel audio power amplifier for an output power of 2 x 0.7 W with a 16 Ω load at a 5 V supply. At a low supply voltage of 3.3 V an output power of 0.6 W with an 8 W load can be obtained. The circuit contains two BTL amplifiers with a complementary PNP-NPN output stage and standby/mute logic. The operating condition of all channels of the device (standby, mute or on) is externally controlled by the MODE pin. With the SELECT pin one of the output channels can be switched in the standby condition. This feature can be used for loudspeaker selection and also reduces the quiescent current consumption. When only one channel is used the maximum output power is 1.2 W.
|
|
|
|
|
|
|
|---|---|---|---|---|---|
|
|
|
|
|
|
|
|
|
|
|
|
|
|
|
|
|
|
|
|
|
|
|
|
|
|
|
|
|
|
|
|
|
|
|
|
|
|
|
|
|
|
|
|
|
|
|
|
|
|
|
|
|
|
|
|
|
|
|
|
|
|
|
|
|
|
|
|
|
|
クイック・リファレンス ドキュメンテーションの種類
3 ドキュメント
コンパクトリスト
セキュアファイルの読み込み中、しばらくお待ちください。