PowerQUICC® Integrated Communications Processor for Portable Systems

  • このページには、製造中止(生産終了)となった製品の情報が記載されています。本ページに記載されている仕様および情報は、過去の参考情報です。

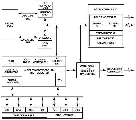
画像にカーソルを合わせると拡大表示されます。

購入/パラメータ










































































































ドキュメント

クイック・リファレンス ドキュメンテーションの種類

1-10 件/全 22 ドキュメント

コンパクトリスト

アプリケーション・ノート (7)
アプリケーション・ノート・ソフトウェア (4)
エラッタ (4)
データ・シート (2)
パッケージ情報 (1)
ユーザ・ガイド (1)
リファレンス・マニュアル (3)

デザイン・ファイル

ソフトウェア

クイック・リファレンス ソフトウェア・タイプ.

3 ソフトウェア・ファイル

注: より快適にご利用いただくために、ソフトウェアのダウンロードはデスクトップで行うことを推奨します。

サポート

お困りのことは何ですか??